合作客戶/
拜耳公司 |
同濟大學 |
聯合大學 |
美國保潔 |
美國強生 |
瑞士羅氏 |
相關新聞Info
-
> 重軌鋼中氧、硫含量、夾雜物形核率、聚集與界面張力的關系(四)
> 純聚苯胺LB膜和聚苯胺與乙酸混合的LB膜制備、NO?氣體敏感特性研究(下)
> 新型熱塑性材料注塑成型模具,克服熔體在流動過程中的表面張力和氣體阻礙
> 基于水煤漿流變性和動態表面張力觀察水煤漿的微觀破裂特性(二)
> 不同質量濃度瀝青質溶液界面張力、界面剪切黏度及粒徑分布圖【上】
> 表面張力和重力驅動下液態釬料填充焊縫流動模型構建及效果評估(二)
> 超微量天平應用于高阻燃輻照交聯低煙無鹵聚烯烴制備
> PG木質素活性劑增產機理、選井條件、應用效果
> 基于粒徑、速度、表面張力、黏度測定揭示塵粒?霧滴碰撞行為規律(三)
> 基于陰離子?非離子型表面活性劑復配最佳強化潤濕高效驅油體系——摘要
推薦新聞Info
-
> 泡沫酸液表面張力調控與無機礦物溶蝕解堵特性研究(三)
> 泡沫酸液表面張力調控與無機礦物溶蝕解堵特性研究(二)
> 泡沫酸液表面張力調控與無機礦物溶蝕解堵特性研究(一)
> 烷基化碳量子點表面活性劑合成改性、表面張力、穩泡及乳化性能(三)
> 烷基化碳量子點表面活性劑合成改性、表面張力、穩泡及乳化性能(二)
> 烷基化碳量子點表面活性劑合成改性、表面張力、穩泡及乳化性能(一)
> pH調控豬血漿蛋白納米顆粒的界面吸附行為與乳液穩定機制(五)
> pH調控豬血漿蛋白納米顆粒的界面吸附行為與乳液穩定機制(四)
> pH調控下豬血漿蛋白熱誘導納米顆粒的制備、表征及其穩定Pickering乳液性能(三)
> pH調控下豬血漿蛋白熱誘導納米顆粒的制備、表征及其穩定Pickering乳液性能(二)
新型熱塑性材料注塑成型模具,克服熔體在流動過程中的表面張力和氣體阻礙
來源:新鄉市仲達塑膠電子有限公司 瀏覽 1118 次 發布時間:2024-07-11
新型熱塑性材料主要包括聚氯乙烯(PVC)、聚苯醚(PPO)、氯化聚醚等。通常具備優異的物理和化學性質,如低密度、高強度、良好的加工性能以及可回收性,新型熱塑性材料具有加熱軟化、冷卻硬化的特性,這種狀態可以多次反復,適合通過注塑成型進行加工。
目前,現有的注塑成型模具在使用過程中,由于新型熱塑性材料具有較高的熔體黏度,會增加熔體在模具內的流動阻力,使得熔體在填充階段難以充分到達型腔的所有角落,尤其是薄壁、深腔或復雜幾何形狀部位,導致填充不足,從而影響制品的整體尺寸精度,因此,本申請提供了一種新型熱塑性材料注塑成型模具來滿足需求。
一種新型熱塑性材料注塑成型模具,包括:上模具;下模具,設置在所述上模具的下方,作為模具的基本組成,上模具與下模具共同構成了成型空間,即型腔,用于接納熔融的新型熱塑性材料,并在其冷卻后形成所需形狀的制品;熱流部,設置在所述下模具內,用于熔體在恒溫狀態下流動;所述熱流部包括:熱流板,設置在所述下模具內;加熱絲,設置在所述熱流板內;阻隔板,設置在所述熱流板內,且位于所述加熱絲底部;通氣孔,設置在下模具上;流動通道,設置在所述下模具上,且靠近所述通氣孔;外接管,連通設置在所述流動通道上,用于模具使用抽取空氣,形成局部負壓環境。
還包括:收納槽,設置在所述上模具上;修整片,設在所述下模具上,且與所述收納槽相對應,用于修整成型注塑件。
還包括:阻擋部,設置在所述下模具上,用于阻擋所述通氣孔;所述阻擋部包括:氣缸,設置在所述下模具上;密封圈,活動設置在所述流動通道內;阻擋塊,活動設置在所述密封圈上,且與所述通氣孔相吻合。
所述氣缸的輸出端延伸至流動通道內,且與所述密封圈連接。
還包括:若干放置槽,設置在所述下模具上;若干連接槽,設置在所述上模具上,且所述放置槽與所述連接槽相對應;若干電動伸縮桿,設置在所述放置槽內,且所述電動伸縮桿的輸出端延伸至所述連接槽內,并與所述上模具連接。
還包括:注塑口,設置在所述上模具上;出料液壓桿,設置在所述下模具上,用于注塑件排出。
還包括:檢測器,設置在所述外接管上。
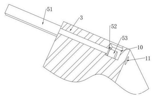
圖1為新型熱塑性材料注塑成型模具結構示意圖;
1、上模具;2、注塑口;3、下模具;4、收納槽;5、阻擋部;6、外接管;7、檢測器;8、修整片;9、放置槽;10、流動通道;11、通氣孔;12、熱流部;13、出料液壓桿;14、連接槽;15、電動伸縮桿;51、氣缸;52、密封圈;53、阻擋塊;121、熱流板;122、加熱絲;123、阻隔板。
通過設置熱流部,使得新型熱塑性材料注塑成型時,提供熱量以保持熔體溫度,確保其黏度處于較低水平,提高流動性,通過設置外接管、流動通道和通氣孔,可將模具內部空氣抽出,減少熔體在模具內部的生成氣泡,同時在模具內形成負壓環境能夠幫助克服熔體在流動過程中的表面張力和氣體阻礙,負壓可以顯著增強熔體的推進能力,促進其深入填充難以到達的區域。





